京东集团申请“Joyrobotaxi”商标,布局自动驾驶与无人机送货
AI导读:
京东集团旗下子公司北京京东叁佰陆拾度电子商务有限公司近日申请注册多枚“Joyrobotaxi”商标,覆盖运输工具、科学仪器等多个领域,显示出京东在自动驾驶和无人机送货等领域的布局决心。目前所有商标状态均为“等待实质审查”。
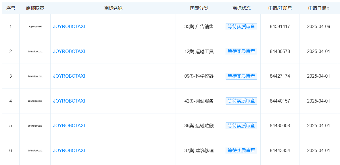
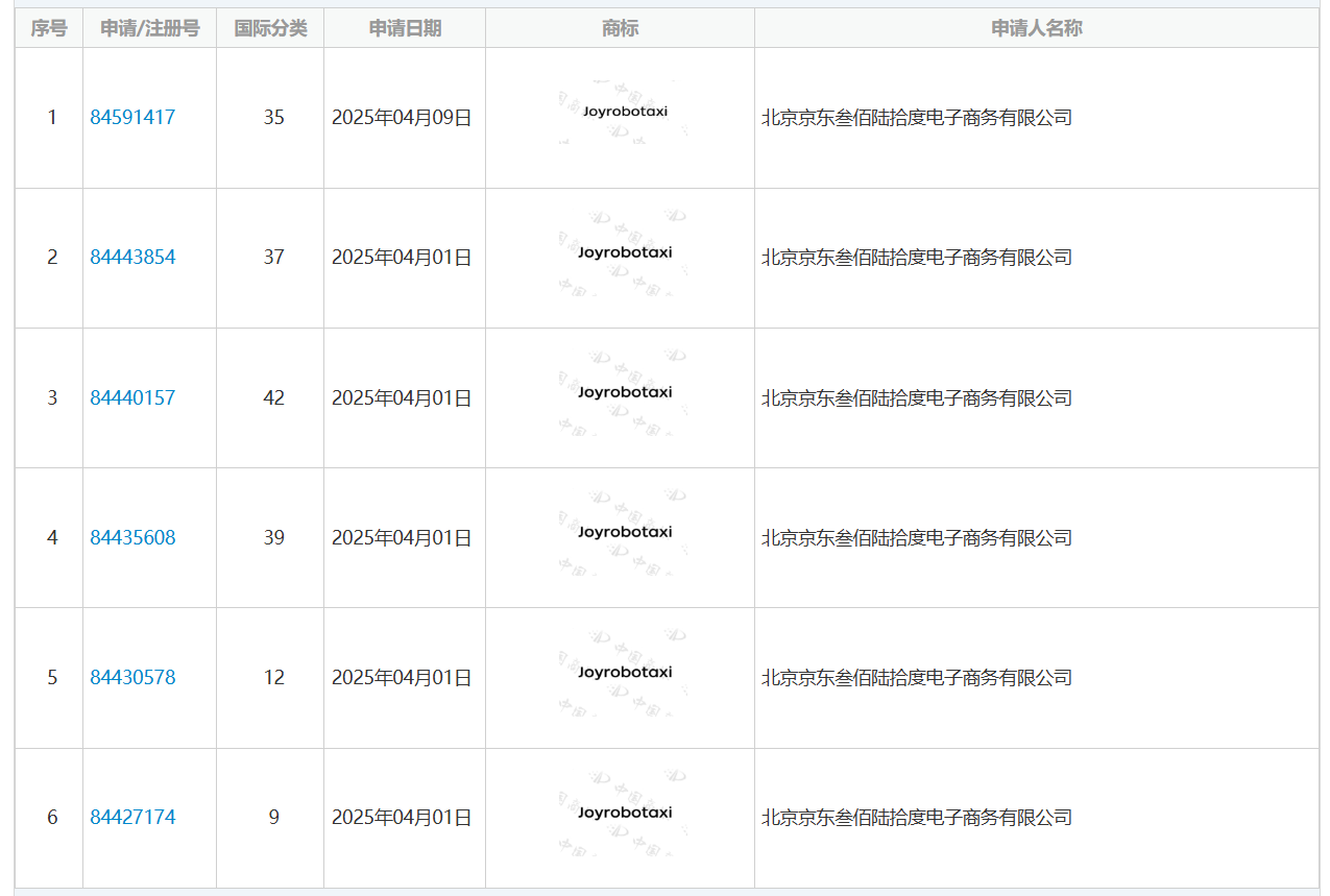
国家知识产权局商标局信息显示,近日,京东集团旗下子公司——北京京东叁佰陆拾度电子商务有限公司,积极布局未来交通领域,申请注册了多枚“Joyrobotaxi”商标。这些商标覆盖领域广泛,包括运输工具、科学仪器、网站服务等多个国际分类,具体商品和服务涵盖电动运载工具、自动驾驶汽车、民用无人机、远程临场机器人等前沿科技产品,以及运输、货物递送、云计算等服务。此举显示出京东在自动驾驶和无人机送货等领域的雄心壮志。
目前,上述所有商标的状态均为“等待实质审查”,预示着京东在未来交通领域的布局正逐步推进。
图片来源:中国商标网
图片来源:天眼查
资料显示,北京京东叁佰陆拾度电子商务有限公司成立于2007年4月,注册资本高达29.2亿元人民币,是一家以零售业为主的企业,经营范围包括机械设备销售、建筑材料销售、电子产品销售等多个领域。该公司法定代表人为张奇,其营业执照名称即为京东网站(JD.COM)所用。
此外,值得注意的是,2025年3月,该公司还申请注册了多枚“京东外卖”商标,目前同样处于“等待实质审查”状态,进一步展现了京东在多元化业务布局上的决心和行动力。
图片来源:京东网站
(文章来源:中国证券报·中证金牛座)
郑重声明:以上内容与本站立场无关。本站发布此内容的目的在于传播更多信息,本站对其观点、判断保持中立,不保证该内容(包括但不限于文字、数据及图表)全部或者部分内容的准确性、真实性、完整性、有效性、及时性、原创性等。相关内容不对各位读者构成任何投资建议,据此操作,风险自担。股市有风险,投资需谨慎。如对该内容存在异议,或发现违法及不良信息,请发送邮件至yxiu_cn@foxmail.com,我们将安排核实处理。

