哪吒汽车资金链状况引发关注,经营困境能否缓解?
AI导读:
哪吒汽车近期被曝出与供应商合同纠纷、App断网等问题,同时面临经营困境。公司正在寻求融资以缓解困境,但30亿元融资尚未到账。此前,哪吒汽车已采取降本增效措施,但问题仍未得到明显改善。
哪吒汽车有钱了吗?
5月7日晚间,A股公司埃夫特(SH688165)发布公告称,经江西省宜春市袁州区人民法院调解及确认,公司与合众新能源宜春分公司(以下简称宜春合众)、合众新能源汽车股份有限公司(哪吒汽车母公司,以下简称合众新能源)就剩余合同款项支付的相关事宜达成合意。
每月还款800多万元,逾期需承担利息
埃夫特发布的《民事调解书》显示,宜春合众、合众新能源尚欠埃夫特设备款约4915.09万元,并同意自2025年6月至2025年11月(共6个月),于每月30日前向埃夫特支付约819.18万元,埃夫特自愿放弃其他诉讼请求。

对于上述款项能否如期归还,《每日经济新闻》记者向哪吒汽车求证,但截至发稿未获回应。
埃夫特成立于2007年,经营业务涵盖工业机器人整机及其核心零部件、系统集成的研发、生产、销售。埃夫特表示,若对方如约履行付款义务,后续应收账款的收回将对公司未来利润产生积极影响。若宜春合众、合众新能源任意一期未能按时足额付款,则需承担逾期付款利息,公司有权向法院申请强制执行。
除埃夫特外,亿纬锂能、蜂巢能源等公司也与合众新能源存在买卖合同纠纷。其中,蜂巢能源与合众新能源的纠纷将于5月14日开庭;亿纬锂能与合众新能源的开庭时间为5月21日。
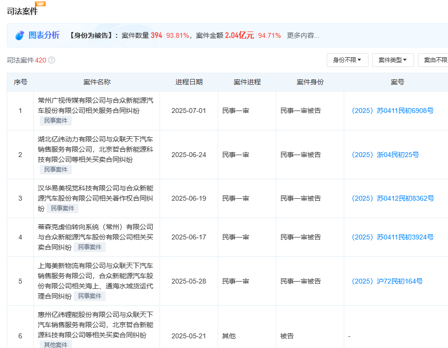
天眼查显示,合众新能源拥有420起司法案件,累计金额高达2.4亿元,其中涉及买卖合同纠纷案件88起,占比超20%。近五年内,合众新能源65.71%的案件发生在2025年,新增案件高达159起。

“五一”期间,多位哪吒车主反映哪吒汽车App断网、车辆远程操控功能无法使用,且官网无法访问。
5月3日,有用户发文称:“哪吒App又崩了,很无语,没带钥匙现在彻底打不开车门了”。
从网友发布的截图来看,有的App无法登录,显示“HTTP502 Bad Gateway”错误提示;有的车主则称,尽管可以打开App,但汽车定位无法更新,或无法查看充电提示和续航里程等信息。

图片来源:抖音(@蜓蜓)
对于此次问题,《每日经济新闻》记者多次致电哪吒汽车客服,但电话均无人接听。不过,有车主称,其在微信群看到通知,哪吒汽车App后台正在维护,无忧界面功能暂时无法使用,恢复时间另行通知,并提醒车主带好机械钥匙。
5月5日,记者发现哪吒汽车App及官网已恢复正常使用。有知情人士透露,此次哪吒汽车App断网等问题主要是流量欠费所致。
此前,哪吒汽车官网和App也曾出现异常。今年1月6日一早,哪吒汽车官网提示“系统维护中,请稍后再试”,当天下午4点后恢复正常;4月,多位车主称哪吒汽车App断网,导致蓝牙钥匙失效、车机系统无法联网等问题。
哪吒汽车曾因经营困境被曝出裁员、降薪、拖欠货款、停工停产等负面消息。2024年12月,张勇不再担任CEO,方运舟接任。方运舟曾表示,哪吒汽车一直在艰难求生,经历过诸多困难。
方运舟接手后,采取了降本增效措施,但经营困境未得到明显改善。今年3月和4月,一些供应商和经销商要求哪吒汽车回应一系列问题。
3月,哪吒汽车组织了一场供应商大会,宣布与国内134家核心供应商达成超20亿元的债转股协议,获得宁德时代、国轩高科等头部供应商响应。
4月,哪吒汽车经销商到哪吒汽车桐乡工厂提出诉求。方运舟鞠躬致歉并表示会尽快解决问题。
哪吒汽车一直在寻求融资。今年1月24日,哪吒汽车召开股东沟通会,讨论E轮融资,计划融资40亿~45亿元。按照规划,领投方的30亿元资金计划在4月份到账,用于全面恢复生产和未来发展。但目前,该资金尚未到账。
(文章来源:每日经济新闻)
郑重声明:以上内容与本站立场无关。本站发布此内容的目的在于传播更多信息,本站对其观点、判断保持中立,不保证该内容(包括但不限于文字、数据及图表)全部或者部分内容的准确性、真实性、完整性、有效性、及时性、原创性等。相关内容不对各位读者构成任何投资建议,据此操作,风险自担。股市有风险,投资需谨慎。如对该内容存在异议,或发现违法及不良信息,请发送邮件至yxiu_cn@foxmail.com,我们将安排核实处理。

