太盟投资掌舵珠海万达商管,架构人事大调整
AI导读:
太盟投资接过珠海万达商管掌舵权后进行组织架构调整,设立三大体系,审计监察中心汇报对象变更。人事方面,王志彬任副董事长,许粉任首席运营官。此前7月7日也有大的人事调整,黄德炜上任后表示万达要回归经营本质。今年5月,太盟等联合体收购万达旗下48家公司股权,近期相关基金已组建完成。
在太盟投资接过珠海万达商管掌舵权之后,商业格局迎来重大调整,此次调整不仅涉及组织架构,更关乎万达未来发展方向(商业调整)。近日澎湃新闻获悉,珠海万达商管在内部宣布了新的管理架构调整及相关人事任命的信息。
具体来看,公司总部将设立运营、财务、人力资源三大体系。原架构中战略品牌管理中心、运营中心等纳入运营体系;原架构中财务中心等纳入财务体系;原架构中人力资源中心等,纳入人力资源体系。值得一提的是,总部审计监察中心汇报对象由CEO调整到汇报给董事会,权力简化集中(组织优化)。
人事任命方面,王志彬担任公司副董事长,此前王志彬任集团常务副总裁。许粉担任公司首席运营官(COO),负责运营体系工作,两人均是万达旧臣。根据官网资料显示,王志彬于2007年11月加入万达集团,在多个重要岗位任职。许粉于2006年9月加入万达集团,也担任过多个重要职务。
从人员安排来看,新达盟牢牢掌控董事会,而具体到经营层面,仍由万达的老将们来实际执行,确保经营稳定(经营稳定)。此前的7月7日,珠海万达商管就已进行过一次大的人事调整。当时的人事通知称,肖广瑞因个人原因辞去大连新达盟及珠海万达商管首席执行官职务。任命黄德炜和胡正伟共同担任大连新达盟及珠海万达商管联席董事长职务,另外,任命黄德炜兼任大连新达盟及珠海万达商管首席执行官职务。
黄德炜上任之后,在内部会议的首次讲话中表示,万达要回归经营本质。有万达内部人士表示,这是对之前肖广瑞时代的各种考核指标进行裁减。“新总裁的意思要聚焦经营本质,把经营放到第一位,纲举目张,拟对集团各类考核办法进行简化。”
今年5月,国家市场监管总局批准太盟、腾讯、京东等组成的联合体,收购万达旗下48家公司的100%股权,对应分布在全国的48座万达广场。当时澎湃新闻从知情人士处了解,此次收购将通过专项基金平台完成。由太盟来主导进行投资。交易完成后,万达商管将继续负责这些广场的日常运营,但万达广场的所有权将彻底转移,交易预计将在2025年下半年正式交割。
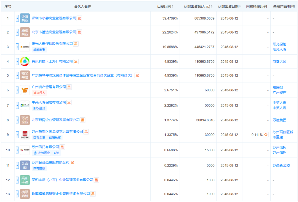
近期,该只基金已经组建完成。据天眼查披露,8月25日,苏州宽遇股权投资基金合伙企业注册成立,出资额约224.29亿元。这只基金由13家公司成立。其中,腾讯系企业合计认缴99.6亿元,占比最高,达到44.4%;京东旗下潘达商管出资47.8亿元,占比22.2%,此外,太盟、阳光人寿等机构共同完成剩余出资。

不过,这场大交易背后核心实际上仍是被称为“私募之王”的太盟投资集团执行董事长——单伟建。太盟投资集团被称为“亚洲小黑石”,由单伟建联合高天乐 (Chris Gradel)和Jon-Paul ToPPIno共同创办,其第三大股东为海外私募巨头黑石。业务板块包括专注于私募股权、不动产和信贷及市场类的投资,管理着超过550亿美元的资产。太盟投资核心人物为单伟建,被业内称为“私募之王”。因为珠海万达商管上市对赌的压力,王健林不得不在2023年引入太盟投资集团以及其他投资者。2023年12月,太盟与大连万达商管签署投资框架协议,成立大连新达盟,珠海万达商管成为旗下子公司;2024年3月,太盟联合中信资本、Ares Management旗下基金(Ares)、阿布扎比投资局(ADIA)旗下全资子公司Platinum Peony和穆巴达拉投资公司(Mubadala Investment Company),联合向大连新达盟投资约600亿元,合计持股60%。
(文章来源:澎湃新闻)
郑重声明:以上内容与本站立场无关。本站发布此内容的目的在于传播更多信息,本站对其观点、判断保持中立,不保证该内容(包括但不限于文字、数据及图表)全部或者部分内容的准确性、真实性、完整性、有效性、及时性、原创性等。相关内容不对各位读者构成任何投资建议,据此操作,风险自担。股市有风险,投资需谨慎。如对该内容存在异议,或发现违法及不良信息,请发送邮件至yxiu_cn@foxmail.com,我们将安排核实处理。

