CSS希妍萃油橄榄精华虚假宣传风波落幕
AI导读:
CSS希妍萃因油橄榄精华虚假宣传被罚款50万,宣布关闭国内所有电商平台店铺。带货博主骆王宇曾为该产品退款1.5亿。涉事产品运营商上海景跃贸易有限公司被指发布虚假广告。
经历长达一年多时间的“油橄榄精华虚假宣传”风波后,CSS希妍萃宣布关闭其天猫旗舰店、海外旗舰店等国内所有电商平台官方店铺。2024年2月,骆王宇因该品牌油橄榄精华“打假”视频被推上风口浪尖。2024年12月,涉事产品运营商上海景跃贸易有限公司因构成发布虚假广告的违法行为,被上海市金山区市场监督管理局罚款50万元。
最新进展:CSS希妍萃与美国品牌方终止合作,关闭国内所有电商平台店铺。CSS希妍萃天猫旗舰店、海外旗舰店店铺均发布闭店公告称,“因美国品牌方未能提供有效支持,导致我们在激烈市场竞争中陷入困境,经慎重考虑决定终止与美国品牌方的合作,并关闭国内所有电商平台的官方店铺。”

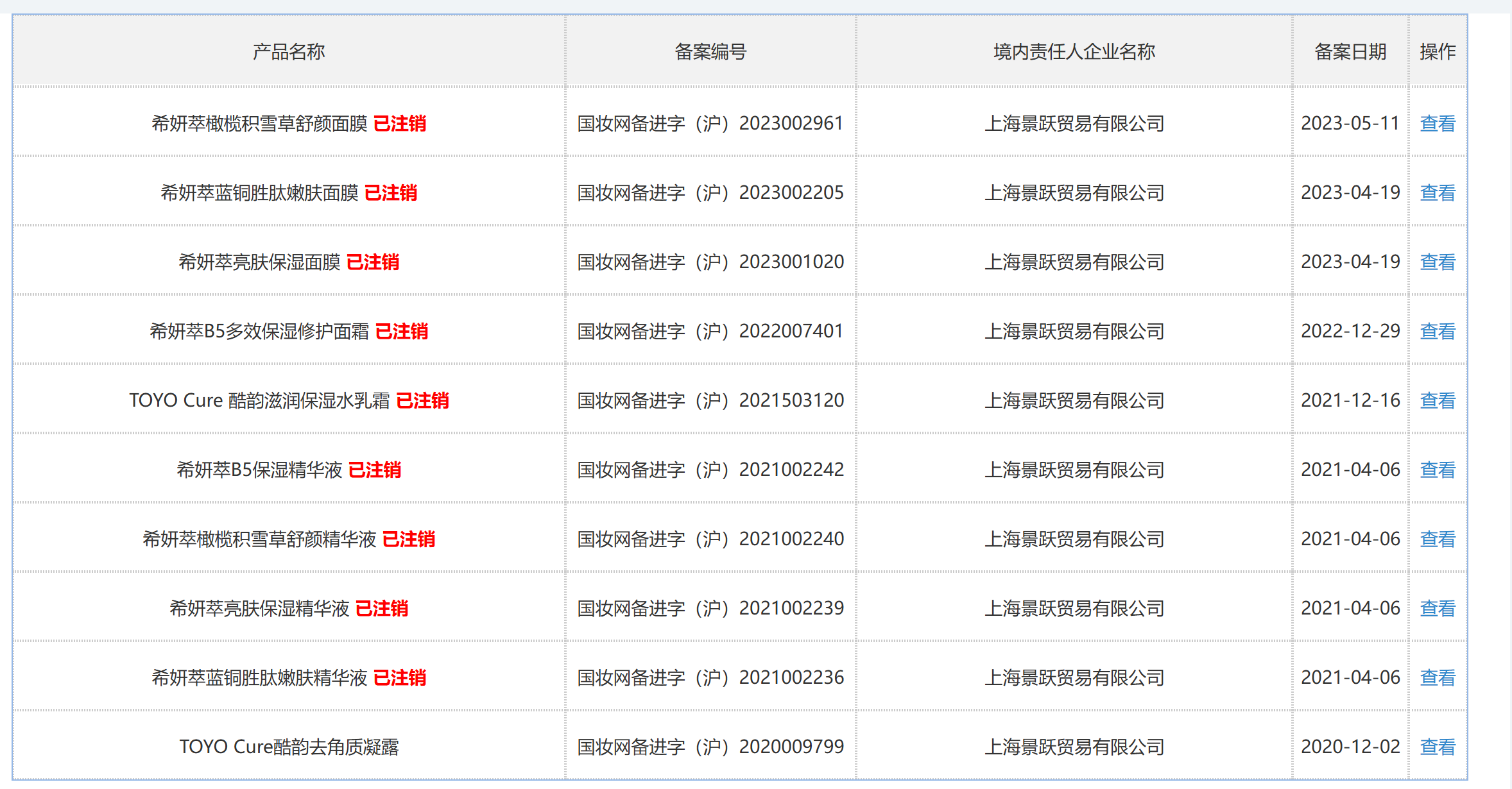
公开资料显示,CSS希妍萃为美国药妆品牌,其代表性产品油橄榄积雪草精华、亮肤保湿精华(色修)全年销量突破40万支。上海景跃贸易有限公司为品牌CSS希妍萃在中国大陆的主要运营商。国家药监局官网显示,以上海景跃为境内责任人的希妍萃多款产品备案均已注销。

事件回顾:2024年2月,抖音美妆博主大虎课代表发布视频称,美国的CSS油橄榄精华产品并未检出油橄榄叶提取物中的主要成分,直指CSS希妍萃涉嫌虚假宣传。曾为该品牌油橄榄精华带货的骆王宇被推上风口浪尖。时隔五个月后,骆王宇发布视频解释称,由于品牌不愿意退款,其个人将和合作机构共同为在其账号购买了“CSS油橄榄精华”的用户退款,涉及金额达1.5亿元。

在骆王宇发布退款声明后,有不少消费者评论表示,此次事件是品牌的问题,不应骆王宇个人全部承担。那么,若产品出现问题,带货主播与品牌方的责任如何划分?康德智库专家、上海东道律师事务所律师李超曾向南都·湾财社记者表示,作为带货主播,骆王宇在推荐商品时负有审核和披露真实信息的责任。品牌方作为商品的生产者或提供者,应确保其产品质量符合相关标准和规定,不得存在虚假宣传或误导消费者的行为。
“CSS油橄榄事件”引起争议后,CSS希妍萃品牌分别于2024年3月、4月在抖音和小红书等官方账号发布了两则声明,称该事件由于资料整理和撰写的不严谨所致,此后再无相关回应。2024年12月,南都·湾财社记者从上海市市场监督管理局获悉,CSS希妍萃油橄榄精华产品,其运营商上海景跃贸易有限公司构成发布虚假广告的违法行为,被罚款50万元。

行政处罚书显示,自2023年7月28日至2024年3月1日,上海景跃在小红书推广页面发布了关于涉案产品“希妍萃橄榄积雪草舒颜精华液”的宣传内容,其中包括“CSS油橄榄精华自地中海沿岸的橄榄树,含有较高的橄榄苦苷”等广告语。经查证,“希妍萃橄榄积雪草舒颜精华液”并非来自地中海沿岸,涉案产品宣传中所称的“含有较高的橄榄苦苷”, 该产品备案成分为油橄榄(OLEAEUROPAEA)叶提取物,且上海景跃出具的涉案产品检测报告中也未检出橄榄苦苷成分。
对于CSS希妍萃油橄榄精华成分、发布虚假宣传广告等问题,CSS希妍萃在发布的闭店公告中解释称,“此前,CSS在小红书平台上关于产品成分介绍宣传不够严谨,对此我们深表歉意。经过仔细审查与调整,我们已对相关内容进行了修正,以确保信息的准确性。”
(文章来源:南方都市报)
郑重声明:以上内容与本站立场无关。本站发布此内容的目的在于传播更多信息,本站对其观点、判断保持中立,不保证该内容(包括但不限于文字、数据及图表)全部或者部分内容的准确性、真实性、完整性、有效性、及时性、原创性等。相关内容不对各位读者构成任何投资建议,据此操作,风险自担。股市有风险,投资需谨慎。如对该内容存在异议,或发现违法及不良信息,请发送邮件至yxiu_cn@foxmail.com,我们将安排核实处理。

