新华保险等险企积极接手万达广场
AI导读:
王健林旗下资产出售计划持续,新华保险等险企积极接手万达广场,包括宣城和铜陵等地万达广场股权变更,新华保险已接手11家,阳光保险、大家保险和横琴人寿也参与其中。
近期,王健林旗下的资产出售计划仍在持续进行中,与此同时,新华保险在收购市场上也展现出了强劲的动力。
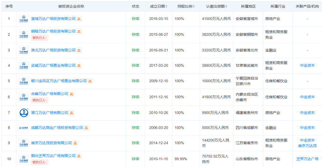
据天眼查最新披露的信息,1月17日,宣城万达广场投资有限公司和铜陵万达广场投资有限公司的股东名单均发生了变动。大连万达商业管理集团股份有限公司退出了这两家公司的股东行列,取而代之的是新增的控股股东坤华(天津)股权投资合伙企业(有限合伙)。
进一步股权穿透后显示,坤华(天津)股权投资合伙企业(有限合伙)由新华人寿保险股份有限公司和中金资本运营有限公司共同持有,其中新华人寿保险股份有限公司持股比例高达99.9%,而中金资本运营有限公司则持有剩余的0.1%。
宣城万达广场投资有限公司注册成立于2016年3月15日,注册资本为4.1亿元,其主要业务范围为房屋租赁。铜陵万达广场投资有限公司则成立于2015年8月27日,注册资本为3.82亿元,同样以房屋租赁为主营业务。值得注意的是,铜陵万达广场投资有限公司目前处于被执行状态,执行法院为安徽省铜陵市中级人民法院,立案日期为2025年1月9日,执行标的约为20.89万元。

截至目前,新华保险已经成功接手了11家万达广场,显示出其在商业地产领域的强劲收购实力。


除了新华保险之外,其他保险公司也在积极参与万达广场的收购。据可查询资料显示,阳光保险、大家保险和横琴人寿都曾先后接手了多处万达广场。阳光保险接手的万达广场包括上海金山万达广场、广州萝岗万达广场、合肥万达广场、太仓万达广场、湖州万达广场以及东莞厚街万达广场。大家保险则接手了上海松江万达广场、西宁万达广场和台山万达广场,并与横琴人寿共同投资了上海周浦万达广场项目。
这些保险公司的积极收购行动,无疑为万达广场的未来增添了更多的可能性。
郑重声明:以上内容与本站立场无关。本站发布此内容的目的在于传播更多信息,本站对其观点、判断保持中立,不保证该内容(包括但不限于文字、数据及图表)全部或者部分内容的准确性、真实性、完整性、有效性、及时性、原创性等。相关内容不对各位读者构成任何投资建议,据此操作,风险自担。股市有风险,投资需谨慎。如对该内容存在异议,或发现违法及不良信息,请发送邮件至yxiu_cn@foxmail.com,我们将安排核实处理。

