商界人物张勇股权遭冻结4050万
AI导读:
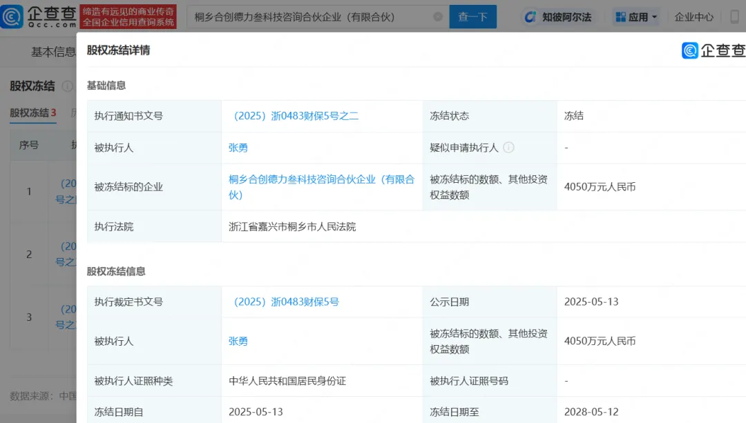
近日,商界人物张勇新增一条股权冻结信息,冻结股权数额4050万元人民币,被冻结企业为桐乡合创德力叁科技咨询合伙企业,冻结期限为三年,执行法院为浙江省嘉兴市桐乡市人民法院。
企查查APP显示,近日,商界人物张勇新增一条股权冻结信息,冻结股权数额高达4050万元人民币。此次被冻结标的企业为桐乡合创德力叁科技咨询合伙企业(有限合伙),冻结期限从2025年5月13日至2028年5月12日,执行法院为浙江省嘉兴市桐乡市人民法院。这一事件引发了业界的广泛关注。

(文章来源:大象新闻)
郑重声明:以上内容与本站立场无关。本站发布此内容的目的在于传播更多信息,本站对其观点、判断保持中立,不保证该内容(包括但不限于文字、数据及图表)全部或者部分内容的准确性、真实性、完整性、有效性、及时性、原创性等。相关内容不对各位读者构成任何投资建议,据此操作,风险自担。股市有风险,投资需谨慎。如对该内容存在异议,或发现违法及不良信息,请发送邮件至yxiu_cn@foxmail.com,我们将安排核实处理。

