胖东来维权声明:严打抖音侵权直播间,2025年销售额破百亿
AI导读:
胖东来发布维权声明,严厉打击抖音平台上打着“胖东来”旗号的侵权直播间和账号。公告显示,这些直播间已构成不正当竞争,胖东来已进行录屏取证并投诉。同时,胖东来2025年销售额达101.76亿元。
6月8日晚间,胖东来在社交平台发布“侵权行为曝光台”相关公告,针对近期抖音网络平台上出现的打着“胖东来”旗号的侵权直播间和账号进行维权。公告指出,这些直播间售卖的商品并非胖东来在售商品,已构成不正当竞争,已对大量消费者造成混淆和误导。
胖东来已对检索到的39家直播间进行录屏取证,并同步投诉到平台与市场监管部门,同时对侵权行为进行部分曝光公示,以保护消费者免受权益受损。此外,胖东来还发布了关于“人格尊严”的维权声明,表示将坚决针对“侵犯人格尊严”的行为进行诉讼和维权。
公告还显示,胖东来将加大企业内部对侵犯人格尊严的处理及补偿标准,对于员工遭受的精神伤害和身体伤害将给予相应补偿,并必须第一时间报警并追究侵权者法律责任。同时,胖东来也坚决抵制和打击网络上冒用企业创始人照片、姓名、AI声音等侵犯肖像权、隐私权、声音权益等行为。
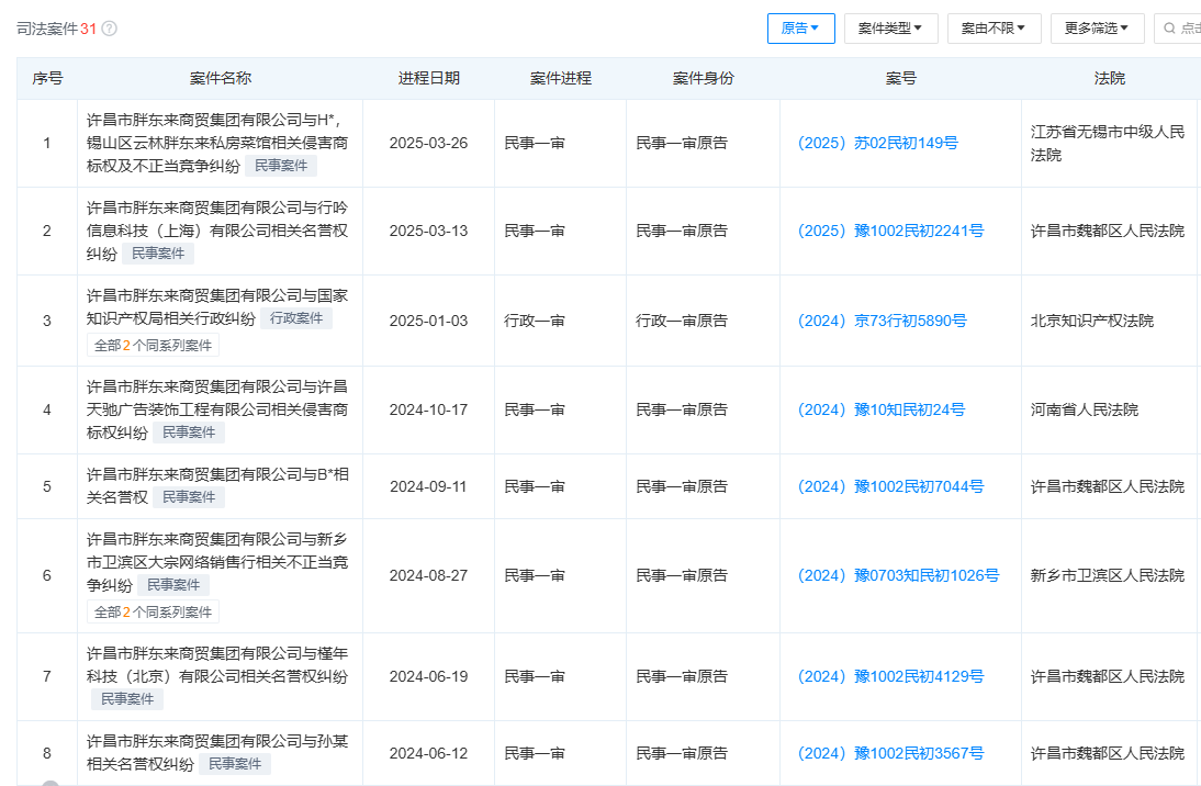
天眼查显示,胖东来作为原告涉及的司法案件有31起,其中多起为侵害商标权及不正当竞争纠纷、名誉权纠纷。此前,胖东来商贸集团官网公布的销售数据显示,截至6月2日,2025年胖东来商贸集团合计销售额达101.76亿元。



本文综合自胖东来官网、胖东来抖音账号、天眼查及公开信息。
(文章来源:21世纪经济报道)
SEO关键词植入:胖东来维权、抖音侵权、不正当竞争、胖东来销售数据
郑重声明:以上内容与本站立场无关。本站发布此内容的目的在于传播更多信息,本站对其观点、判断保持中立,不保证该内容(包括但不限于文字、数据及图表)全部或者部分内容的准确性、真实性、完整性、有效性、及时性、原创性等。相关内容不对各位读者构成任何投资建议,据此操作,风险自担。股市有风险,投资需谨慎。如对该内容存在异议,或发现违法及不良信息,请发送邮件至yxiu_cn@foxmail.com,我们将安排核实处理。

