抖音申请AI版商标,布局新技术领域
AI导读:
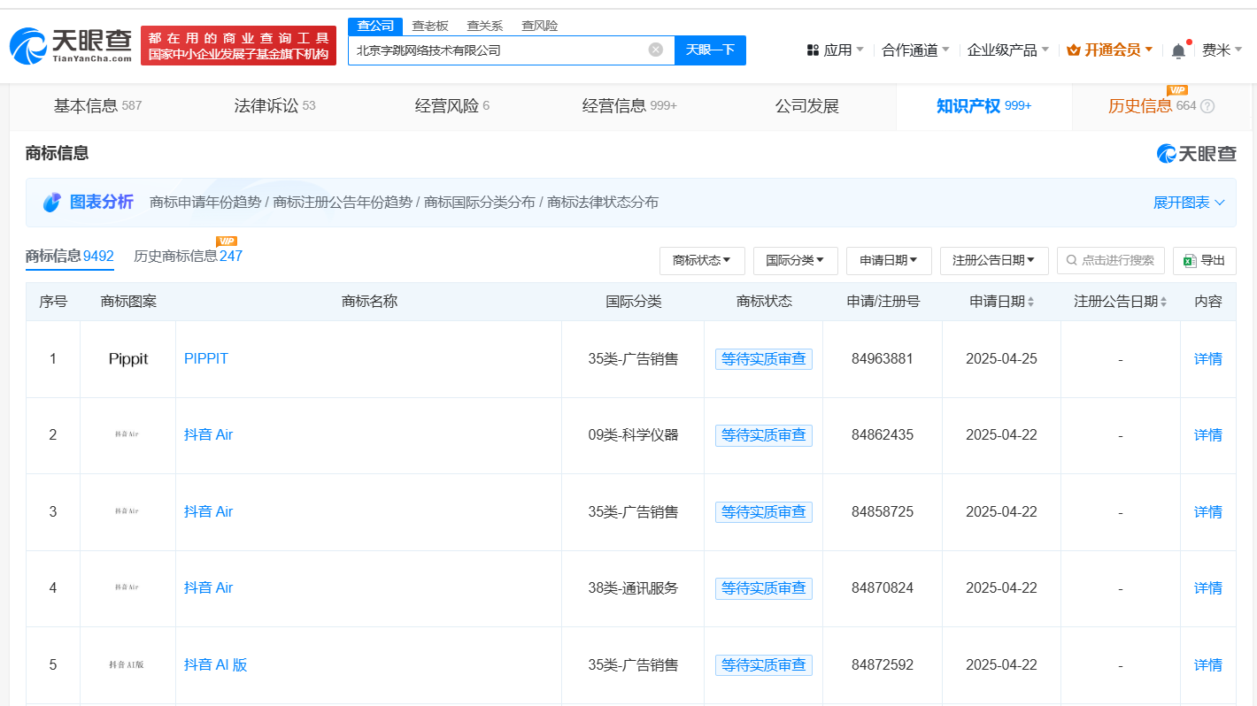
近日,北京字跳网络技术有限公司申请注册多枚“抖音AI版”“抖音Air”商标,涵盖科学仪器、广告销售及通讯服务等领域,由抖音集团全资控股,此举预示着抖音未来在新技术领域的进一步拓展。
每经AI快讯,天眼查知识产权信息显示,近日,北京字跳网络技术有限公司积极布局AI领域,申请注册了多枚“抖音AI版”“抖音Air”商标,此举引发了广泛关注。这些商标的国际分类涵盖了科学仪器、广告销售及通讯服务等多个领域,目前均处于等待实质审查阶段。该公司成立于2018年10月,法定代表人为水恒熠,注册资本高达1亿美元,业务范畴广泛,包括会议服务、企业策划、组织文化艺术交流活动、版权代理、版权贸易及文艺创作等,由抖音集团(香港)有限公司全资控股。



此次商标注册行动不仅彰显了抖音在AI技术领域的雄心壮志,也预示着其未来在广告销售、通讯服务等领域的进一步拓展。随着AI技术的不断发展,抖音有望借助新技术力量,进一步巩固其在市场中的地位。(文章来源:每日经济新闻)
郑重声明:以上内容与本站立场无关。本站发布此内容的目的在于传播更多信息,本站对其观点、判断保持中立,不保证该内容(包括但不限于文字、数据及图表)全部或者部分内容的准确性、真实性、完整性、有效性、及时性、原创性等。相关内容不对各位读者构成任何投资建议,据此操作,风险自担。股市有风险,投资需谨慎。如对该内容存在异议,或发现违法及不良信息,请发送邮件至yxiu_cn@foxmail.com,我们将安排核实处理。

