成都可可豆动画获广播电视节目制作经营许可证,拓展新业务版图
AI导读:
成都可可豆动画影视有限公司近日获得广播电视节目制作经营许可证,有效期至2027年。此举标志着公司可进一步拓展业务范围,涉足电视剧、综艺节目等领域。公司出品的《哪吒之魔童闹海》票房突破136亿元,成为国内外热门话题。
微成都报道天眼查APP显示,近日,成都可可豆动画影视有限公司(以下简称“成都可可豆”)成功获取广播电视节目制作经营许可证。这一关键行政许可由高新区教育文化体育局颁发,有效期延续至2027年2月16日,预示着成都可可豆在动画电影制作领域之外,将迎来业务版图的全新拓展,正式进军电视剧、综艺节目、广播剧等广播电视节目的制作与发行领域。
据悉,成都可可豆自2015年12月成立以来,已稳步发展。其前身为2009年创立的国内知名“饺克力”动画工作室,法定代表人彭桦,注册资本达300万人民币,由霍尔果斯可可豆动画影视有限公司全资控股。公司业务范畴广泛,涵盖动漫设计、动漫衍生品设计、电影发行等多个维度。

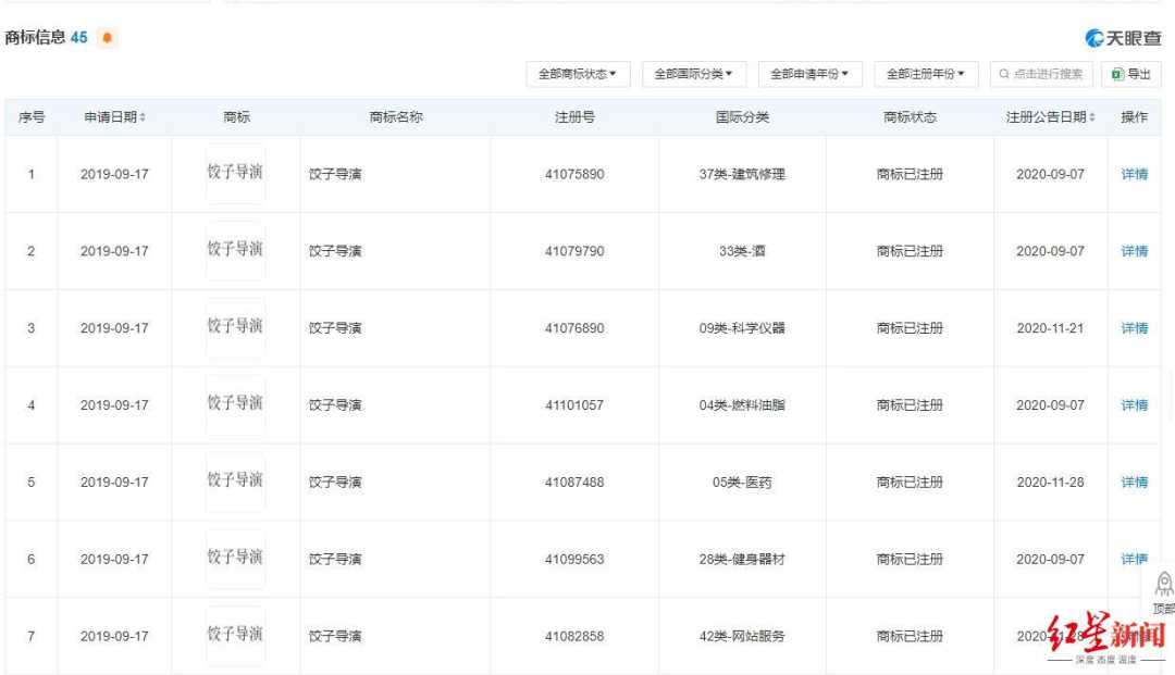
值得注意的是,著名导演杨宇(饺子)为成都可可豆的实际控制人及最终受益人,间接持有公司56%股权,并担任监事。公司还拥有多枚“饺子导演”商标及《哪吒之魔童闹海》系列作品著作权,角色形象深入人心,作品涵盖三维动画电影角色、Q版图库、动作设计等多个方面。

在动画电影领域,成都可可豆成绩斐然,特别是《哪吒之魔童降世》及其续作《哪吒之魔童闹海》在国内外市场大放异彩。《哪吒2》于2025年春节档上映,截至2月24日,全球票房已破136亿元大关,勇夺中国影史及全球动画影史票房双冠。
▲可可豆动画门口
随着广播电视节目制作经营许可证的取得,成都可可豆动画影视有限公司将在动画制作及版权交易领域获得更广阔的发展空间,能够合法合规地探索更多元化的内容创作,助力企业持续壮大。这一许可的获得,无疑为公司的未来发展注入了强劲动力。
(文章来源:红星资本局)
郑重声明:以上内容与本站立场无关。本站发布此内容的目的在于传播更多信息,本站对其观点、判断保持中立,不保证该内容(包括但不限于文字、数据及图表)全部或者部分内容的准确性、真实性、完整性、有效性、及时性、原创性等。相关内容不对各位读者构成任何投资建议,据此操作,风险自担。股市有风险,投资需谨慎。如对该内容存在异议,或发现违法及不良信息,请发送邮件至yxiu_cn@foxmail.com,我们将安排核实处理。

