中央汇金新任董事长张青松上任,总资产超7.7万亿
AI导读:
中央汇金新任董事长张青松正式上任,同时进行了高层人事调整。中央汇金总资产超过7.7万亿元,持有19家金融企业股权,今年四大行股价屡创历史新高,继续增持ETF。
【导读】中央汇金新任董事长张青松正式上任。
近日,中央汇金投资有限责任公司(简称“中央汇金”)宣布了人事调整的重要消息。12月31日,经国务院批准,张青松正式出任中央汇金董事长一职,接替了彭纯原董事长职务。

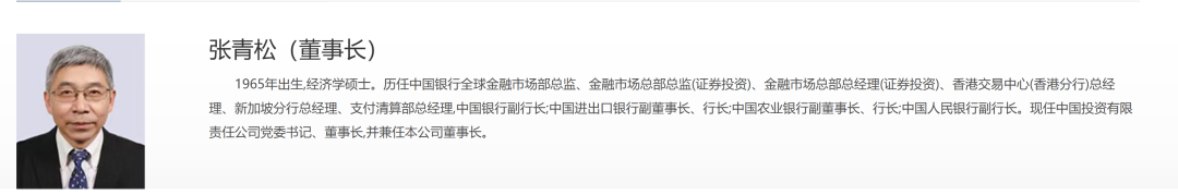
张青松,1965年生,经济学硕士,拥有丰富的金融行业管理经验。他曾任中国银行多个高层职位,包括全球金融市场部总监、金融市场总部总经理(证券投资)等,以及中国银行副行长;此后又出任中国进出口银行副董事长、行长,中国农业银行副董事长、行长,中国人民银行副行长。目前,他还担任中国投资有限责任公司(简称“中投公司”)党委书记、董事长。

早在11月26日,中投公司也发布了董事长任免公告,宣布张青松出任中投公司董事长。
此外,中央汇金在今年9月底也进行了人事调整。9月30日,经国务院批准,刘加旺和廖强分别被任命为中央汇金副董事长、执行董事和执行董事,同时聘任刘加旺为总经理,廖强为副总经理。值得注意的是,刘加旺为“75后”干部,是农业银行体系内成长起来的干部,现任中投公司党委委员、副总经理,并兼任中央汇金副董事长、执行董事、总经理。


中央汇金成立21年来,发展迅猛。截至2024年6月30日,中央汇金总资产已达7.76万亿元,总净资产达6.78万亿元。其中,实收资本和资本公积总计1.07万亿元,而未分配利润和盈余公积以及其他综合收益总共是5.7万亿元,累计增值超过5.5倍。

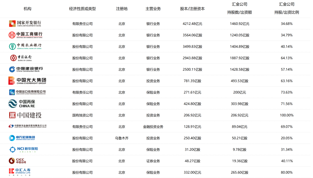
作为中央汇金的控股股东,中投公司主要从事境外投资,而中央汇金则主要对国有重点金融企业进行股权投资。截至2024年6月30日,中央汇金持有19家金融企业的股权,包括四大国有银行、国家开发银行、中国光大集团、申万宏源等。

今年,中央汇金持有的四大行股价屡创历史新高,其中农业银行涨幅超过54%,工商银行涨幅逾52%,中国银行涨幅45.24%,建设银行涨幅42.43%。此外,中央汇金还在今年三季度继续增持ETF,仅4只沪深300ETF和华夏上证50ETF就耗资约3000亿元。
(文章来源:中国基金报)
郑重声明:以上内容与本站立场无关。本站发布此内容的目的在于传播更多信息,本站对其观点、判断保持中立,不保证该内容(包括但不限于文字、数据及图表)全部或者部分内容的准确性、真实性、完整性、有效性、及时性、原创性等。相关内容不对各位读者构成任何投资建议,据此操作,风险自担。股市有风险,投资需谨慎。如对该内容存在异议,或发现违法及不良信息,请发送邮件至yxiu_cn@foxmail.com,我们将安排核实处理。

