娃小宗品牌崛起:宗馥莉辞职后商标布局加速
AI导读:
红星资本局10月11日消息,娃小宗已在微博注册账号,宗馥莉辞职后决定经营自有品牌,宏胜集团已申请数十个娃小宗相关商标,品牌扩张步伐加快。
红星资本局10月11日消息,红星资本局发现,娃小宗已在微博平台崭露头角,账号认证主体为宏胜饮料集团有限公司(下称“宏胜集团”)。截至发稿,该账号已有466个粉丝,引发市场广泛关注。商标动态与品牌布局成为行业焦点。

截图自微博
红星资本局此前报道,宗馥莉已于9月12日向娃哈哈集团有限公司辞去公司法定代表人、董事及董事长等相关职务并已通过集团股东会和董事会的相关程序,此举标志着品牌战略的重大调整。
有消息人士向媒体透露,宗馥莉此次辞职,是因为商标使用“不合规”,宗馥莉决定经营自己的品牌“娃小宗”,这一决策背后或蕴含着更深层次的商业考量。
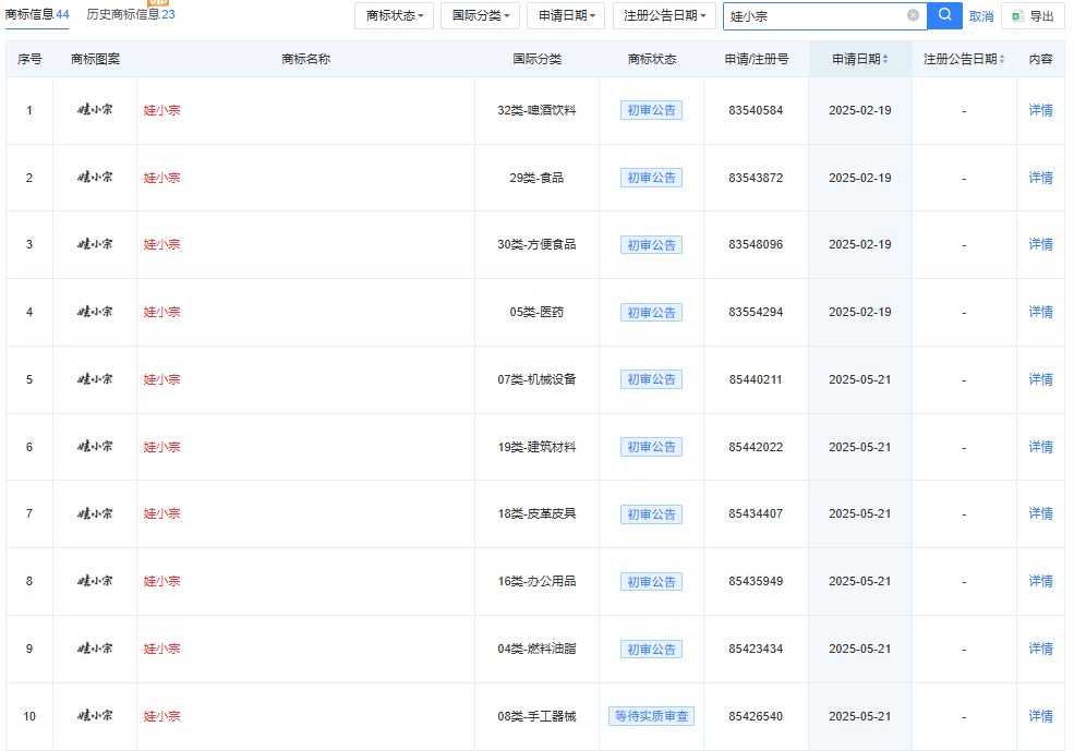
红星资本局通过天眼查App注意到,今年以来,宏胜集团已申请数十个“娃小宗”相关商标,国际分类广泛,包括啤酒饮料、食品、方便食品和医药等,部分商标已通过初审,部分商标还在等待实质审查,品牌扩张步伐明显加快。

截图自天眼查
(文章来源:红星资本局)
郑重声明:以上内容与本站立场无关。本站发布此内容的目的在于传播更多信息,本站对其观点、判断保持中立,不保证该内容(包括但不限于文字、数据及图表)全部或者部分内容的准确性、真实性、完整性、有效性、及时性、原创性等。相关内容不对各位读者构成任何投资建议,据此操作,风险自担。股市有风险,投资需谨慎。如对该内容存在异议,或发现违法及不良信息,请发送邮件至yxiu_cn@foxmail.com,我们将安排核实处理。

