万达集团陷金融司法危机,债务与股权冻结问题严峻
AI导读:
万达集团正面临金融司法危机,王健林被限制高消费,集团多项金融执行案件、资产股权冻结信息曝光。被执行总金额超52亿元,两家核心金融平台股权遭冻结,债务危机解局难度加剧。
曾凭借雄厚资本纵横市场的万达集团,正面临一场严峻的金融司法危机(金融风险)。

近日,大连万达集团股份有限公司(下称 “万达集团”)及其法定代表人王健林再陷负面风波 ——王健林被依法限制高消费,万达集团多项金融相关的执行案件、资产股权冻结信息陆续曝光(债务问题)。
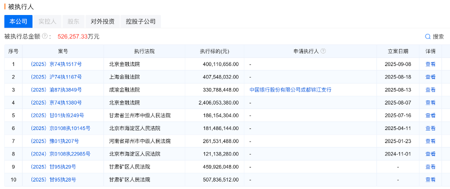
据21世纪经济报道记者梳理,截至目前,万达集团被执行总金额已超过52亿元。
值得关注的是,相关案件多数由北京、上海、成渝三家金融法院集中审理,这也是目前我国仅有的三家专门金融审判机构。从申请执行人来看,也出现了中国银行、上海国际信托等多家金融机构的身影(金融机构)。
此外,作为万达旗下两大核心金融平台,上海万达网络金融服务有限公司与上海万达小额贷款有限公司的股权也相继被冻结,也为其金融业务的发展带来不确定性(股权冻结)。
中行、上海信托等机构与之对簿公堂
企业预警通信息显示,王健林近期新增 “限制高消费” 措施,此次限高与此前一起强制执行案件直接相关。案件流程显示,万达集团、万达地产集团有限公司已因该案件被法院强制执行1.86亿元,目前相关执行程序仍在推进中。

从整体债务情况来看,万达集团股份有限公司的压力已十分显著——截至目前,其现存多条被执行人信息,累计被执行金额已突破52亿元。

值得关注的是,2025年8月至9月,万达集团就因四起独立案件接连面临强制执行,涉及金额分别为24亿元、3.3亿元、4.07亿元以及4亿元,对应的执行法院则分别为北京金融法院、上海金融法院、成渝金融法院。经21世纪经济报道记者了解,这三家法院是我国目前仅有的专门金融审判机构,其审判范围明确聚焦金融领域,主要涵盖金融民商事案件、涉金融行政案件及相关执行案件。
万达集团近期涉及的多起案件集中由这三家专业金融法院审理,侧面显示出了其纠纷的金融属性及复杂性。
从申请执行人来看,出现了多家金融机构的身影。例如,中国银行成都锦江支行作为申请执行人,申请执行金额达3.3亿元;而在上海金融法院审理的4.07亿元案件中,原告则为上海国际信托有限公司。

在上海国际信托有限公司起诉的案件当中,被告方为万达地产集团有限公司、天津静海万达房地产开发有限公司、大连万达集团股份有限公司。公开庭审记录显示,该案已于2024年9月及11月两次在上海金融法院开庭审理,目前已正式进入首次执行阶段。根据司法程序及案件关联关系,上述三家被告需就4亿元涉案债务承担连带赔偿责任。
两家核心金融平台股权遭冻结
除司法执行外,万达集团两家金融资产的股权冻结情况也令市场担忧。
21世纪经济报道记者梳理发现,9月初,万达旗下上海万达网络金融服务有限公司、上海万达小额贷款有限公司合计94亿元股权,被北京金融法院冻结,冻结期限均为三年。

北京金融法院出具的执行信息显示,目前万达集团持有的上海万达网络金融服务有限公司85.62亿元股权、上海万达小额贷款有限公司8.4亿元股权均处于冻结状态。
本轮的股权冻结,无疑将影响万达集团对上述子公司的控制权。
作为万达金融战略的核心平台之一,上海万达网络金融服务有限公司成立于 2015 年 3 月 24 日,注册资本 93.125 亿元,由万达集团控股,注册地位于上海浦东新区,业务涵盖互联网信息服务、证券投资咨询及技术服务,2017 年完成 A 轮融资后,对外投资已涉及快钱金融服务(上海)有限公司等 19 家金融科技企业。
该公司旗下 “万惠云创” 业务板块包含两大核心产品:万达钱包与万达普惠。其中,万达钱包定位为 “面向万达业态客群的科技金融产品”,整合了先享后付、小额信贷、充值预付等功能,并叠加万达广场专属优惠券及权益。

万达普惠围绕“金融+互联网+大数据”的创新方向,为大众、小微企业提供有特色、优质便捷的金融服务,有着“随借随还、额度高、利率低”的特点。

另一家被冻结股权的上海万达小额贷款有限公司,同样是万达金融布局的重要一环。
该公司成立于2016年1月26日,注册资本10.5亿元,总部位于中国(上海)自由贸易试验区,持有网络小额贷款牌照,依托“实体+大数据+互联网+金融”模式,通过“万达贷”和消费信贷平台“快易花”两大品牌,提供消费信贷及小微贷款产品。
此次金融困局无疑进一步加剧了万达集团债务危机的解局难度。对于被限高,9月28日,万达集团内部人士向21世纪经济报道记者表示:(限高)是万达下属项目公司经济纠纷导致,事实上之前双方一直在通过多种方式协商解决,我们也正在了解具体情况,本次或因在执行层面信息不对称导致。
(文章来源:21世纪经济报道)
郑重声明:以上内容与本站立场无关。本站发布此内容的目的在于传播更多信息,本站对其观点、判断保持中立,不保证该内容(包括但不限于文字、数据及图表)全部或者部分内容的准确性、真实性、完整性、有效性、及时性、原创性等。相关内容不对各位读者构成任何投资建议,据此操作,风险自担。股市有风险,投资需谨慎。如对该内容存在异议,或发现违法及不良信息,请发送邮件至yxiu_cn@foxmail.com,我们将安排核实处理。

