王健林及万达集团被限高消费,财务困境引发关注
AI导读:
近日,王健林及大连万达集团被限制高消费,执行法院为兰州中院。今年以来,万达新增多则被执行人信息,股权被冻结超145亿元。为缓解现金压力,万达陆续出售资产。王健林曾多次问鼎首富,如今万达面临挑战。
【导读】王健林及万达集团被限制高消费,商业版图面临挑战
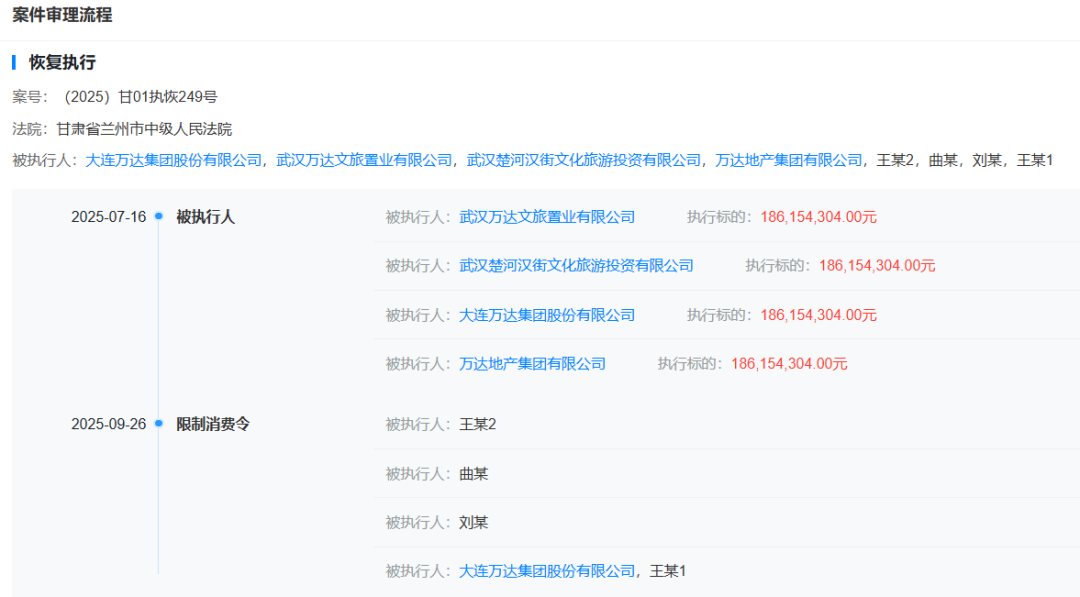
近日,大连万达集团股份有限公司及其法定代表人王健林等被限制高消费,执行法院为甘肃省兰州市中级人民法院,这一消息引发了市场对万达财务状况的广泛关注。案件审理流程显示,此前,大连万达集团股份有限公司、万达地产集团有限公司等因此案被强制执行1.86亿元,凸显了其资金链的紧张态势。


据天眼查数据显示,今年以来,大连万达集团股份有限公司新增多则被执行人信息。今年1月,新增执行标的2.62亿元,执行法院为河南省郑州市中级人民法院。4月,更是新增三则被执行人信息,合计执行标的高达11.49亿元,涉及甘肃矿区人民法院、北京市海淀区人民法院等多家法院,万达财务压力可见一斑。

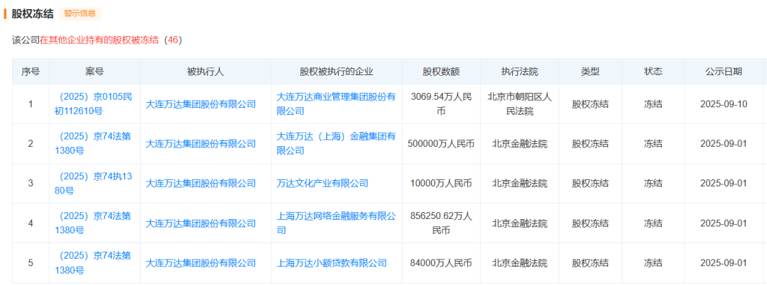
此外,大连万达集团股份有限公司在其他企业持有的股权被冻结,相关股权冻结案件达40余则。9月1日,新增4则股权冻结信息,股权所在企业包括大连万达(上海)金融集团有限公司等,冻结股权数额合计超145亿元,执行法院均为北京金融法院,这无疑给万达的运营带来了更大的不确定性。

面对财务压力,万达一直出售资产以缓解现金压力。今年以来,万达陆续有7座万达广场被零散出售。4月17日,万达酒店发展发布公告称,拟将全资持有的万达酒店管理(香港)有限公司100%股权,以24.9亿元的价格出售给同程旅行,这一举措进一步体现了万达的财务调整策略。公开资料显示,大连万达集团股份有限公司成立于1992年9月,法定代表人为王健林,实际控制人也为王健林,其商业版图涵盖商业地产、酒店、连锁百货等多个领域。
王健林,这位曾经的商业巨擘,出生于1954年10月,四川成都人。他1993年起担任大连万达集团股份有限公司董事长、总裁,曾多次问鼎中国乃至全球华人首富,其商业成就令人瞩目。然而,如今的万达却面临着前所未有的挑战,未来走向引人关注。
(文章来源:中国基金报)
郑重声明:以上内容与本站立场无关。本站发布此内容的目的在于传播更多信息,本站对其观点、判断保持中立,不保证该内容(包括但不限于文字、数据及图表)全部或者部分内容的准确性、真实性、完整性、有效性、及时性、原创性等。相关内容不对各位读者构成任何投资建议,据此操作,风险自担。股市有风险,投资需谨慎。如对该内容存在异议,或发现违法及不良信息,请发送邮件至yxiu_cn@foxmail.com,我们将安排核实处理。

