那英老公绯闻曝光,企业关联情况引关注
AI导读:
9月10日,账号爆料那英老公与美女亲密依偎并带回别墅,此前预告“国民级女星后院起火”。那英夫妇曾合作3家企业均注销,那英名下关联9家6家注销,孟彤名下关联12家7家存续,工作室未回应绯闻。
9月10日,有账号发布视频爆料那英老公与美女亲密依偎,并在饭后一起坐车将该女子带回那英别墅,此娱乐事件引发广泛关注。此前,该账号曾预告“国民级女星后院起火,老公出轨”,一时间成为网络热议话题。
公开资料显示,那英的现任丈夫孟彤生于1967年,拥有德国MBA学位,是北京高档酒吧VICS创始人。据悉,2006年,两人在加拿大登记结婚,育有一女。在娱乐圈动态中,他们的感情生活一直备受瞩目。
天眼查APP显示,那英夫妇曾合作3家企业,目前均已注销。其中,海南鼎宏文化传媒有限公司成立于2021年,由二者各自持股50%,注册资本300万元;经营范围含演出经纪、营业性演出、文化娱乐经纪人服务、文艺创作、数字内容制作服务等;于2023年7月5日注销。同年成立的青岛丁香音乐中心(有限合伙)那英持股99%,孟彤持股1%,于2023年2月27日注销。上海地致时装有限公司那英持股30%,孟彤担任公司监事,于2025年5月13日注销。

图据天眼查
此外,那英名下关联9家企业,其中6家已注销,仅北京福月音乐工作室(普通合伙)、北京银河树文化传媒有限公司、绍兴上虞艾泽拉思投资管理合伙企业(有限合伙)为存续状态。

图据天眼查
天眼查的相关注册信息显示,北京银河树文化传媒有限公司成立于2011年,注册资本200万人民币,那英持股51%。北京福月音乐工作室(普通合伙)成立于2013年,注册资本50万人民币,那英持股90%,2024年年报显示公司参保人数3人。绍兴上虞艾泽拉思投资管理合伙企业(有限合伙)成立于2015年,注册资本近5亿人民币,以从事商务服务业为主;那英持股4%,认缴出资额1998.36万;马云好友、银泰商业创始人沈国军持股约8.36%,认缴出资额4178.88万。
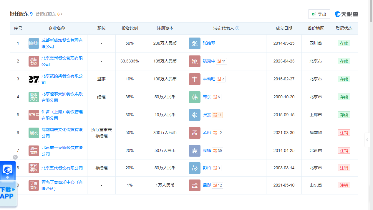
上述几家存续企业均选择不公示企业年报。那英老公孟彤名下关联12家企业,7家存续。其中,成都新威加餐饮管理有限公司多次被列入经营异常名录,孟彤持股50%。截至发稿,那英工作室没有公开回应有关孟彤的绯闻,这一娱乐圈绯闻事件后续发展仍待观察。
红星新闻综合界面新闻、公开消息
(文章来源:红星资本局)
郑重声明:以上内容与本站立场无关。本站发布此内容的目的在于传播更多信息,本站对其观点、判断保持中立,不保证该内容(包括但不限于文字、数据及图表)全部或者部分内容的准确性、真实性、完整性、有效性、及时性、原创性等。相关内容不对各位读者构成任何投资建议,据此操作,风险自担。股市有风险,投资需谨慎。如对该内容存在异议,或发现违法及不良信息,请发送邮件至yxiu_cn@foxmail.com,我们将安排核实处理。

