万达股权再遭冻结,金融版图与经营压力受关注
AI导读:
近日,大连万达集团股份有限公司所持上海万达网络金融服务有限公司及上海万达小额贷款有限公司股权被冻结,合计约94亿元。万达集团近年来经营压力较大,有多条被执行人信息。万达集团创立于1988年,是大型企业集团,正努力寻求突破。
万达再遭股权冻结,金融版图受冲击。
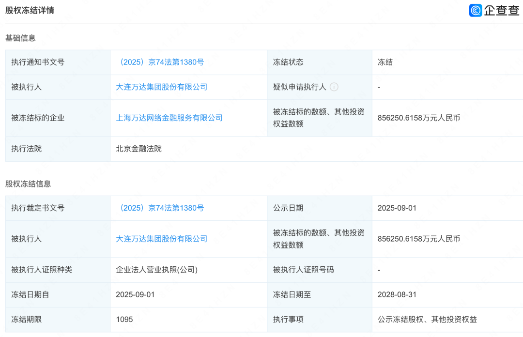
企查查APP显示,近日,大连万达集团股份有限公司所持上海万达网络金融服务有限公司约85.62亿元股权、上海万达小额贷款有限公司8.4亿元股权被冻结,冻结期自2025年9月1日至2028年8月31日,执行法院为北京金融法院。两家公司合计被冻结的股权约为94亿元,这一冻结举措无疑给万达的金融业务带来巨大影响,也引发了市场对万达资金状况的广泛关注。

工商信息显示,上海万达网络金融服务有限公司2015年3月成立。其官方网站显示,万惠云创包含万达钱包和万达普惠两大业务。其中,万达钱包是万达集团旗下面向万达业态客群的科技金融产品,智能整合先享后付、小额信贷、充值预付等金融服务功能。万达普惠围绕“金融+互联网+大数据”的创新方向,以诚信、合规、稳健、创新的经营理念,致力于为普罗大众、小微企业提供有特色、优质便捷的金融服务,在金融服务领域不断探索创新。
上海万达小额贷款有限公司2016年1月成立。官网显示,公司立足万达生态场景,为普罗大众和小微企业提供高效、优质、普惠的综合金融服务,践行科技引领金融的普惠发展之路,积极推动金融服务的普及。
近年来,万达集团经营压力较大。企查查数据显示,截至9月5日,万达集团共有10条被执行人信息,合计被执行金额为49.29亿元;共有25条历史被执行人信息,被执行金额89.61亿元。这些数据反映出万达集团当前面临的资金困境和经营挑战。
官网显示,万达集团创立于1988年,已发展成为以现代服务业为主的大型企业集团,旗下包括商管集团、文旅集团、投资集团,其中商业中心、体育、儿童产业等处于世界行业领先地位。尽管面临诸多困难,万达集团仍在努力寻求突破。
(文章来源:证券时报·e公司)
郑重声明:以上内容与本站立场无关。本站发布此内容的目的在于传播更多信息,本站对其观点、判断保持中立,不保证该内容(包括但不限于文字、数据及图表)全部或者部分内容的准确性、真实性、完整性、有效性、及时性、原创性等。相关内容不对各位读者构成任何投资建议,据此操作,风险自担。股市有风险,投资需谨慎。如对该内容存在异议,或发现违法及不良信息,请发送邮件至yxiu_cn@foxmail.com,我们将安排核实处理。

