中旭未来递交港股上市申请,游戏与米粉业务双轮驱动
AI导读:
中旭未来递交港股上市申请,旗下《贪玩蓝月》游戏及“渣渣灰”米粉品牌备受关注。公司核心业务为网络游戏开发和运营,同时涉足新消费领域。与多家A股游戏公司存在渊源,合作提升游戏产品研发和运营效率。
中旭未来,这家可能不为众人所熟知的公司,却是《贪玩蓝月》及“渣渣灰”米粉品牌的背后推手。作为江西贪玩信息技术有限公司的VIE控制实体,中旭未来近日递交了港股上市申请。
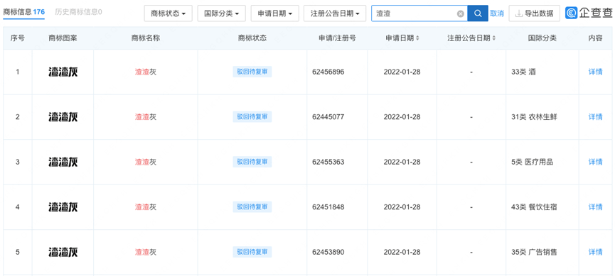
中旭未来与“渣渣灰”的渊源始于2017年,当时张家辉等港星代言的《贪玩蓝月》因普通话不标准而诞生了“渣渣辉”的网络爆梗。2018年,江西贪玩虽申请“渣渣辉”商标未果,但两年后跨界推出的“渣渣灰”米粉品牌却大获成功。
中旭未来的核心业务是网络游戏开发和运营,其收入在2019年至2021年间分别为30亿元、28.7亿元和57.4亿元。2021年,中旭未来以2%的市场份额在国内游戏公司中排名第五,非自主开发手机游戏产生的收入更是排名第二。传奇IP游戏和明星代言策略是其成功的关键。
中旭未来在游戏营销上投入巨大,2021年广告投放量排名行业第四。公司累计合作超过30位明星代言人,包括陈小春、朱茵、孙红雷、张家辉等。然而,这种营销策略也带来了高昂的成本,2019年至2021年,营销及推广开支分别为23.5亿元、16.4亿元和37.4亿元。
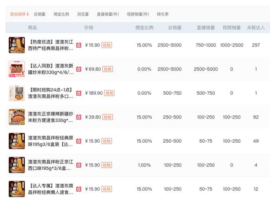
除了游戏业务,中旭未来还涉足新消费领域,推出了“渣渣灰”速食米粉品牌。该品牌在线上销售火爆,与抖音头部主播合作,全平台累计销量已超过4000万盒。然而,米粉产品的毛利相对较低,上半年毛利为43%,远低于自营游戏产品的95%。
此外,中旭未来还与多家A股游戏公司存在渊源,直接持有恺英网络2.56%的股份,并与世纪华通存在股权关系。这些合作旨在发挥各自优势,提升游戏产品研发和运营效率。







郑重声明:以上内容与本站立场无关。本站发布此内容的目的在于传播更多信息,本站对其观点、判断保持中立,不保证该内容(包括但不限于文字、数据及图表)全部或者部分内容的准确性、真实性、完整性、有效性、及时性、原创性等。相关内容不对各位读者构成任何投资建议,据此操作,风险自担。股市有风险,投资需谨慎。如对该内容存在异议,或发现违法及不良信息,请发送邮件至yxiu_cn@foxmail.com,我们将安排核实处理。

