哪吒汽车10亿股权冻结风波平息,仍面临亏损与战略调整
AI导读:
哪吒汽车被曝10亿股权冻结,后澄清为合同纠纷导致的财产保全,且已撤销。公司近期面临裁员、降薪等负面消息,但仍在进行战略调整,并计划港股IPO。
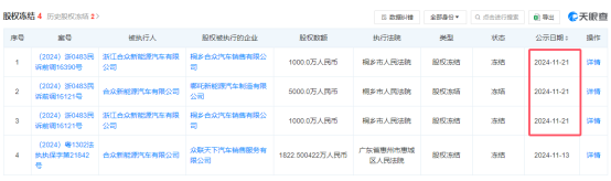
日前,哪吒汽车被曝出10亿元股权被冻结的消息,但随后哪吒汽车方面回应称,这是一起合同纠纷导致的财产保全,被误解为10亿元股权冻结,且法院已经撤销了该冻结。记者查阅天眼查发现,哪吒汽车母公司合众新能源股份有限公司在2024年11月19日确实新增了一条高达10亿元的股权冻结信息,但随后该信息被撤销。

图片来源:天眼查(现已撤销)
哪吒汽车相关负责人表示,上述公示的冻结金额数据有误,实际冻结金额为1000万元,而非10亿元。经合众新能源汽车有限公司申请,桐乡市人民法院已解除对合众新能源汽车股份有限公司持有的哪吒新能源汽车制造有限公司100%的股权采取的财产保全措施。
据了解,该股权冻结事件源于哪吒汽车与索密克汽车配件有限公司之间的合同纠纷。桐乡市人民法院于2024年10月31日作出民事裁定,冻结合众新能源汽车股份有限公司银行存款约1144.18万元或查封相应价值的财产。然而,合众新能源汽车股份有限公司以实际保全的金额已超额为由向法院申请解除部分财产的保全措施,并获得了法院的准许。
此外,哪吒汽车近期还面临着裁员、降薪、战略调整等负面消息的漩涡。不过,哪吒汽车方面表示,公司正在实施全员股权激励计划,并进行了战略调整,以提高人效和组织运营效率,降低运营费用。同时,哪吒汽车还将配置更多资源专注海外市场拓展,并在国内聚焦优势车型的可持续运营。
值得一提的是,哪吒汽车母公司合众新能源汽车股份有限公司已于今年6月向港交所递交上市申请。然而,尽管公司营收有所增长,但仍处于亏损状态。哪吒汽车方面表示,公司的目的是力争2025年2月实现经营现金流转正。
(图片来源:天眼查)
郑重声明:以上内容与本站立场无关。本站发布此内容的目的在于传播更多信息,本站对其观点、判断保持中立,不保证该内容(包括但不限于文字、数据及图表)全部或者部分内容的准确性、真实性、完整性、有效性、及时性、原创性等。相关内容不对各位读者构成任何投资建议,据此操作,风险自担。股市有风险,投资需谨慎。如对该内容存在异议,或发现违法及不良信息,请发送邮件至yxiu_cn@foxmail.com,我们将安排核实处理。

