王宝强被举报涉嫌欺诈,商业版图及慈善承诺引关注
AI导读:
王宝强被成都恩波格斗俱乐部举报涉嫌欺诈,双方在电影《八角笼中》票房分成上存在争议。此外,王宝强的慈善承诺和商业版图也受到关注。
11月21日17时30分左右,#王宝强被举报涉嫌欺诈#话题冲上热搜。据博主爆料,成都恩波格斗俱乐部向警方报案,称王宝强及其公司涉嫌诈骗,双方在电影《八角笼中》的票房分成上存在争议。目前,警方已受理报案并将展开调查。


据《大河报》报道,恩波格斗俱乐部称,为支持王宝强拍摄《八角笼中》,俱乐部投入了大量人力物力财力,耗时五年高达百万元。俱乐部曾被承诺拿5%的票房分成(即22亿元票房中的1.1亿元),但王宝强方面未给予任何回报,导致俱乐部经营困难。

此外,王宝强还曾被曝“慈善人设翻车”。据21世纪经济报道此前消息,有博主直播爆料称,王宝强在拍摄《八角笼中》时承诺资助小演员们到大学毕业,但并未兑现。其中一名参演小演员马虎表示,至今未收到王宝强的任何资助。

公开资料显示,《八角笼中》是王宝强自导自演的第二部电影,总票房突破21亿元,累计观影人次超过5156万。
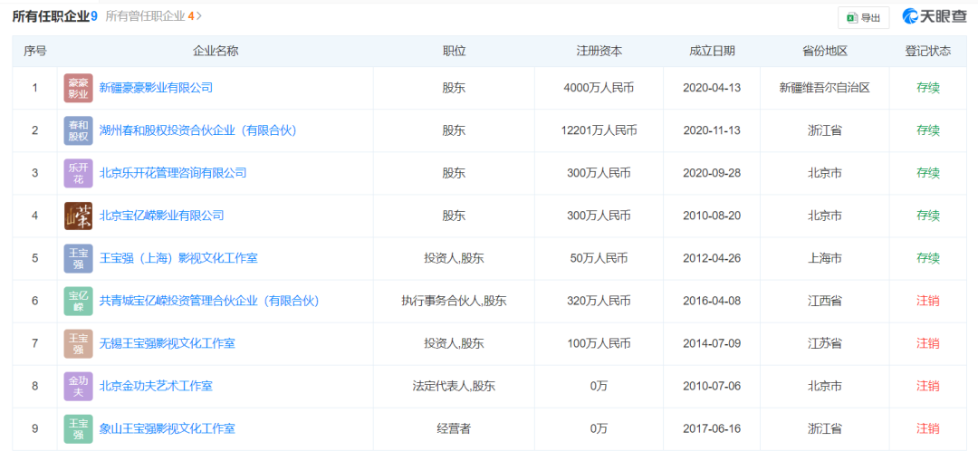
王宝强商业版图方面,天眼查App显示,其名下共关联9家企业,其中5家为存续状态,包括影视、股权投资等领域。其女友冯清共关联5家企业,近日其中一家公司已注销。




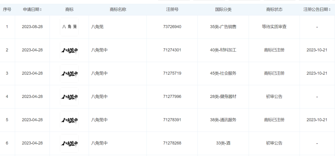
值得一提的是,王宝强实控的北京乐开花影业有限公司已成功注册多枚“八角笼中”商标,并登记了相关著作权。
郑重声明:以上内容与本站立场无关。本站发布此内容的目的在于传播更多信息,本站对其观点、判断保持中立,不保证该内容(包括但不限于文字、数据及图表)全部或者部分内容的准确性、真实性、完整性、有效性、及时性、原创性等。相关内容不对各位读者构成任何投资建议,据此操作,风险自担。股市有风险,投资需谨慎。如对该内容存在异议,或发现违法及不良信息,请发送邮件至yxiu_cn@foxmail.com,我们将安排核实处理。

