阿里神秘“酒窝”,明天见
AI导读:
4月21日,企查查数据显示,阿里巴巴(中国)有限公司于2026年3月10日悄然申请了4项名为“千问小酒窝”的商标,涉及AI、人形机器人等多个领域。
4月20日,阿里集团官方账号发布了一幅神秘海报,文案只有“4月22日见,hello wo
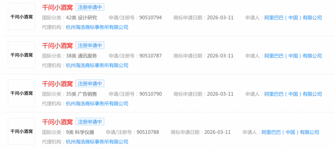
4月21日,企查查数据显示,阿里巴巴(中国)有限公司于2026年3月10日悄然申请了4项名为“千问小酒窝”的商标,涉及AI、人形机器人等多个领域。
4月20日,阿里集团官方账号发布了一幅神秘海报,文案只有“4月22日见,hello world”,画面中是一位酒窝特征明显的女性形象。
记者4月21日在企查查官方网站看到,阿里“千问小酒窝”商标涵盖第9类(科学仪器)、第35类(广告销售)、第38类(通讯服务)以及第42类(设计研究)共4个国际商标分类。
其中,已申请项目包括人工智能即服务(AIaaS)、模拟对话用聊天机器人软件、科学研究用具有人工智能的人形机器人、辅助人类和供人娱乐用具有交流和学习功能的类人机器人等,目前商标状态均为“注册申请中”。
自3月16日Alibaba Token Hub (ATH) 事业群成立以来,阿里在AI领域动作不断,一个月内连续发布视频模型HappyHorse、世界模型HappyOyster,以及AI开发工具Meoo(秒悟)等多款产品。
据海报信息,更多AI业务进展也将于本周内公布。
(文章来源:上海证券报)
郑重声明:以上内容与本站立场无关。本站发布此内容的目的在于传播更多信息,本站对其观点、判断保持中立,不保证该内容(包括但不限于文字、数据及图表)全部或者部分内容的准确性、真实性、完整性、有效性、及时性、原创性等。相关内容不对各位读者构成任何投资建议,据此操作,风险自担。股市有风险,投资需谨慎。如对该内容存在异议,或发现违法及不良信息,请发送邮件至yxiu_cn@foxmail.com,我们将安排核实处理。

