张勇4050万股权遭冻结,引发业界关注
AI导读:
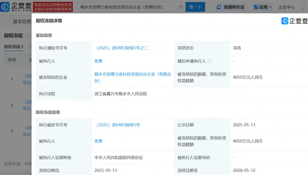
企查查APP显示,近日张勇新增一条股权冻结信息,涉及金额4050万元人民币,被冻结企业为桐乡合创德力叁科技咨询合伙企业,冻结期限为三年。此次事件引发了业界广泛关注,具体原因及后续影响待观察。
企查查APP数据显示,近日,知名企业家张勇新增一条股权冻结信息,涉及金额高达4050万元人民币。被冻结标的企业为桐乡合创德力叁科技咨询合伙企业(有限合伙),此次冻结由浙江省嘉兴市桐乡市人民法院执行,冻结期限自2025年5月13日至2028年5月12日。这一消息引发了业界广泛关注。

股权冻结事件往往与企业经营、法律纠纷等关键词紧密相连,此次张勇的股权冻结无疑给市场带来了新的思考。关于此次冻结的具体原因及后续影响,还需进一步观察和分析。(文章来源:大象新闻)
郑重声明:以上内容与本站立场无关。本站发布此内容的目的在于传播更多信息,本站对其观点、判断保持中立,不保证该内容(包括但不限于文字、数据及图表)全部或者部分内容的准确性、真实性、完整性、有效性、及时性、原创性等。相关内容不对各位读者构成任何投资建议,据此操作,风险自担。股市有风险,投资需谨慎。如对该内容存在异议,或发现违法及不良信息,请发送邮件至yxiu_cn@foxmail.com,我们将安排核实处理。

