哪吒汽车官网异常引热议,深陷舆论风波
AI导读:
1月6日,哪吒汽车因官网异常冲上微博热搜。公司官网无法打开,但小程序和手机App正常访问。哪吒汽车近期深陷舆论风波,包括股权冻结、降薪裁员等事件。
1月6日早间,“哪吒汽车”因官网异常冲上微博热搜。据证券时报记者报道,哪吒汽车官网今日早间无法打开,截至10:40仍显示“系统维护中”。然而,哪吒汽车的小程序和手机App却能正常访问。

截至发稿,哪吒汽车官方未对此进行公开回应。新浪财经援引哪吒汽车体验中心销售人员消息称,官网正在进行维护,预计下周恢复正常,且哪吒汽车在1月4日已恢复生产。试驾服务正常进行,车辆充足。销售人员还透露,公司此前进行了资源整合和较大变动,现已步入正轨。

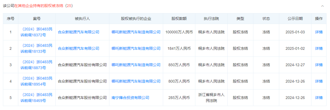
天眼风险信息显示,合众新能源汽车股份有限公司存在多条股权冻结信息,其中一条新增股权冻结信息涉及哪吒新能源汽车制造有限公司,冻结股权数额达10亿元人民币,期限自2025年1月3日至2028年1月2日。此外,该公司还有一条被执行人信息,执行金额超911万元。

近期,哪吒汽车陷入舆论风波。去年10月,有自称哪吒汽车员工的网友爆料称公司发不出工资,且拖欠供应商款项。哪吒汽车回应称,公司正在进行内部管理变革,包括工资结构调整和绩效考核体系优化,一线销售人员与工厂员工薪资已按时发放,其余人员先按50%发放,剩余部分待方案通过后补发。同时,中层和高管正在进行股权优化和薪资架构调整。
随后,哪吒汽车又传出降薪消息,自9月1日起实施降薪,不同年薪区间员工降薪比例不同。公司回应称,面对复杂多变的市场环境,公司必须采取措施应对挑战,包括机构精简、裁汰冗员、业务聚焦、扁平化管理等。
去年11月,哪吒汽车又被曝出启动大比例裁员,裁员比例最高或达70%。公司回应称,在构建更集中高效的组织架构,分部门按业务要求和未来发展需要进行整合。此外,A股公司埃夫特对合众新能源宜春分公司及合众新能源汽车股份有限公司提起诉讼,源于宜春合众拖欠逾4800万元货款。
在交付量方面,哪吒汽车自2024年10月起未再公布交付数据,公司2024年前9个月交付量为8.59万辆,同比下降12.13%。
郑重声明:以上内容与本站立场无关。本站发布此内容的目的在于传播更多信息,本站对其观点、判断保持中立,不保证该内容(包括但不限于文字、数据及图表)全部或者部分内容的准确性、真实性、完整性、有效性、及时性、原创性等。相关内容不对各位读者构成任何投资建议,据此操作,风险自担。股市有风险,投资需谨慎。如对该内容存在异议,或发现违法及不良信息,请发送邮件至yxiu_cn@foxmail.com,我们将安排核实处理。

