赵薇官宣离婚,商业版图大幅缩减
AI导读:
赵薇官宣与黄有龙早已离婚,商业版图不断缩水,近年来多次涉及被执行信息和股权冻结,还曾接到证监会罚单。
12月28日下午,知名女星赵薇通过社交媒体官宣与黄有龙早已离婚的消息,她明确表示双方的婚姻关系在法律上多年前已解除,并郑重声明:“任何关于他的事件、言论或新闻报道都与我无关。我恳请社会各界尊重这些事实,避免将我卷入不必要的虚假关联或无端报道中。”
近期,赵薇及其关联公司西藏龙薇文化传媒有限公司、祥源文旅(600576)新增了一则被执行信息,涉及金额8488元,执行法院为浙江省杭州市中级人民法院。此外,这两家公司还因另一起案件被强制执行5689元。
今年4月,赵薇名下部分股权被冻结,涉及企业为合宝文娱集团有限公司,执行法院为北京市第四中级人民法院,被冻结股权金额为500万元人民币,冻结期限持续至2027年4月10日。
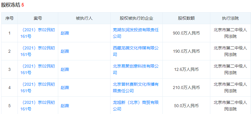
回顾2021年4月,赵薇名下多个股权也陆续被冻结,涉及企业包括芜湖东润发投资有限责任公司等,合计金额超过千万元,冻结期限至2024年4月末。
近年来,赵薇的商业版图大幅缩减。在事业巅峰时期,她曾入股17家公司,涉足影视、文娱、投资、科技、房地产等多个领域。然而,据天眼查数据显示,目前赵薇担任法人的公司中,仅赵赵(上海)影视文化工作室仍在运营,其余两家公司已注销或吊销。
值得一提的是,早在2018年,赵薇就曾因万家文化收购案接到证监会罚单,被处以警告及30万元罚款,并被采取5年证券市场禁入措施。
(文章来源:北京商报)
郑重声明:以上内容与本站立场无关。本站发布此内容的目的在于传播更多信息,本站对其观点、判断保持中立,不保证该内容(包括但不限于文字、数据及图表)全部或者部分内容的准确性、真实性、完整性、有效性、及时性、原创性等。相关内容不对各位读者构成任何投资建议,据此操作,风险自担。股市有风险,投资需谨慎。如对该内容存在异议,或发现违法及不良信息,请发送邮件至yxiu_cn@foxmail.com,我们将安排核实处理。

