“0糖特饮”竟是注册商标引争议,东鹏饮料业绩狂飙难掩高负债隐忧
AI导读:
一边是2025年营收破200亿元、净利增超32%的亮眼财报,一边是“0糖特饮实为注册商标”引发全网热议,将“中国能量饮料第一品牌”东鹏饮料的“小心思”暴露在聚光灯下。
近年来,“无糖”“0糖”已成为健康消费的主
一边是2025年营收破200亿元、净利增超32%的亮眼财报,一边是“0糖特饮实为注册商标”引发全网热议,将“中国能量饮料第一品牌”东鹏饮料的“小心思”暴露在聚光灯下。
近年来,“无糖”“0糖”已成为健康消费的主流趋势,众多饮品企业更是抢注相关商标,作为品牌资产保护与赛道卡位的利器。近日,东鹏饮料旗下的东鹏“0糖特饮”实为注册商标的消息登上热搜,引发网友热议。
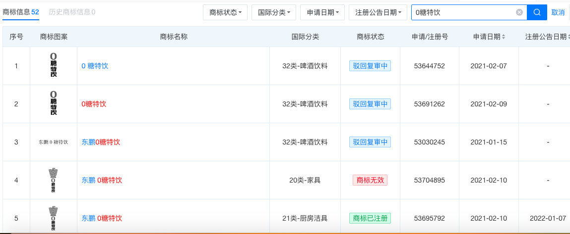
读创财经查阅天眼查APP发现,东鹏饮料早在2021年就开始注册含“0糖”的商标,其中101条商标信息含“东鹏0糖”,52条商标信息含“0糖特饮”,50条商标信息含“东鹏0糖特饮”,国际分类涉及啤酒饮料、运输工具、健身器材等,有的显示“商标已注册”,也有部分商标“驳回复审中”,还有部分商标被宣布无效。
对于该注册商标引发的争议,东鹏饮料在回应相关媒体采访时表示,“东鹏0糖特饮”产品严格遵循国家法规(《GB28050-2011预包装食品营养标签通则》)针对“0糖”(无糖)的标准要求,含糖量严控在国标范围之内,旧款不合规产品早已主动下架,新版无糖产品合规上市。
事实上,近年来,商家把核心卖点注册成商标并不是个例,所谓的“心机商标”在消费领域也屡见不鲜。如,今麦郎“手打”挂面与手工工艺毫无关系,白象“多半袋面”中的“多半”实际上是商标,“宋柚汁”被指柚含量不到3%,“120W”充电器实际功率仅12W。
根据《中华人民共和国商标法》明确规定,带有欺骗性、易使公众对商品质量等特点产生误认的标志,不得作为商标使用;即便已注册,使用时也需遵循诚实信用原则。
国家知识产权局2025年11月印发《国家知识产权局办公室关于加强商标使用管理的通知》,明确重点治理通过商标实施虚假描述等欺骗误导公众的行为。同时,2027年3月即将实施的《食品安全国家标准预包装食品标签通则》,明确禁止“零添加”“不添加”等用语。
东鹏饮料2025年年报显示,公司全年实现营业收入208.75亿元,同比增长31.80%;归母净利润44.15亿元,同比增长32.72%,两项核心指标均创上市以来新高。这不仅标志着东鹏正式迈入“200亿俱乐部”,更是其自上市以来连续第七年保持业绩高增长。
东鹏饮料31.80%的营收增速在全球头部软饮企业中位居前列,主要得益于“1+6”多品类战略(即能量饮料+六大品类)的推进,以及全国化渠道的精耕。同时,毛利率从44.81%提升至44.91%,原材料价格下降释放了利润空间。
但值得注意的是,第四季度净利率承压明显。国信证券等机构指出,公司第四季度单季度净利率同比下降2.64个百分点,主要是淡季前置投放冰柜导致销售费用率上升,以及利息收入减少所致。
虽然账面好看,但年报显示,公司有息负债高达66.51亿元,有息资产负债率达24.89%,债务负担相对较高。
年报显示,作为绝对主力的“东鹏特饮”,2025年实现营收155.99亿元,同比增长17.25%。虽然市场份额稳居能量饮料市场第一(销量占比达51.6%),但相较于前几年的爆发式增长,主引擎的转速正在放缓。特别是在2025年第四季度,由于公司主动控货去库存及春节错期影响,特饮增速环比降至个位数。
东鹏饮料“第二曲线”电解质饮料“补水啦”成为最大亮点,全年营收32.74亿元,同比暴增118.99%,营收占比跃升至15.7%。在外资投行和机构的报告中,“补水啦”已被确立为公司穿越周期的关键筹码。
正是在这种“新老交替”的档口,东鹏在“0糖”系列产品上的布局引发了舆论风波。注册商标虽是一种防御,但也暴露了其在无糖茶、无糖功能饮料领域构建壁垒的急迫性。
来源:读创财经
(文章来源:深圳商报·读创)
郑重声明:以上内容与本站立场无关。本站发布此内容的目的在于传播更多信息,本站对其观点、判断保持中立,不保证该内容(包括但不限于文字、数据及图表)全部或者部分内容的准确性、真实性、完整性、有效性、及时性、原创性等。相关内容不对各位读者构成任何投资建议,据此操作,风险自担。股市有风险,投资需谨慎。如对该内容存在异议,或发现违法及不良信息,请发送邮件至yxiu_cn@foxmail.com,我们将安排核实处理。

