东鹏饮料百亿级大单品陷争议!企业称0糖商标是为保护品牌
AI导读:
近日,据其他媒体报道,在健康消费风潮下,食品行业扎堆布局“0糖”“0脂”商标,众多食品饮料品牌纷纷抢注。其中,“0糖”已被多方抢注为商标,申请人包括东鹏饮料(集团)股份有限公司、徐福记国际控股集团有限公司、奈雪的茶
近日,据其他媒体报道,在健康消费风潮下,食品行业扎堆布局“0糖”“0脂”商标,众多食品饮料品牌纷纷抢注。其中,“0糖”已被多方抢注为商标,申请人包括东鹏饮料(集团)股份有限公司、徐福记国际控股集团有限公司、奈雪的茶关联公司深圳市品道餐饮管理有限公司等,国际分类涉及食品、方便食品、啤酒饮料等。
值得关注的是,东鹏饮料旗下的东鹏“0糖特饮”也是注册商标,引发网友热议。对此,东鹏饮料方面向南都湾财社记者表示,“东鹏0糖特饮”产品符合国家相关标准,商标注册是出于产品品牌保护需求,目前该产品已停止售卖。
4月24日,东鹏饮料股价下跌,截至发稿报202.27元/股,下跌0.94%,总市值为1142亿元。
注册“0糖特饮”商标背后
东鹏特饮为百亿级大单品
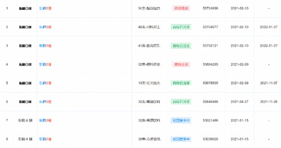
天眼查App信息显示,东鹏饮料早在2021年就开始注册多个“东鹏0糖特饮”及“0糖特饮”商标,其中部分商标已注册成功,也有不少被驳回复审或宣布无效。
南都湾财社记者就此事拨打东鹏饮料董秘电话,接线员回应称,“东鹏0糖特饮”产品严格遵循国家法规(《GB28050-2011预包装食品营养标签通则》)针对“0糖”(无糖)的标准要求,商标注册是出于产品品牌保护需求;同时表示该产品目前已停止售卖。
记者留意到,在主流电商平台上,“东鹏0糖特饮”产品确已不再销售,但另一款“无糖型”东鹏特饮正在热卖,产品配料表前四位分别是:水、赤藓糖醇、麦芽糊精、麦芽糖醇液。
值得注意的是,从2023年开始,东鹏特饮就已成功跻身“百亿大单品”,且该产品一直以来都是东鹏饮料的收入来源支柱。
根据东鹏饮料此前披露的年报,2025年公司实现营业收入208.75亿元,归属于上市公司股东的净利润为44.15亿元,同比分别增长31.80%和32.72%。其中,以东鹏特饮为主的能量饮料仍是核心收入来源,2025年实现营收155.99亿元,同比增长17.25%,占总收入比重为74.78%。
除东鹏特饮以外,东鹏饮料还注册了多个“0糖”商标。天眼查App信息显示,东鹏饮料已申请51条“东鹏0糖”相关商标信息,其中25条已经注册成功,另有10多条商标无效,还有部分在驳回复审中或者商标异议中。
国家知识产权局针对“心机商标”发声
商标法修订草案正在审核中
近年来,消费领域“心机商标”的现象频出,多次引发各界关注与讨论。事实上,法律层面对此早已明确划定了经营底线。
《中华人民共和国商标法》规定:带有欺骗性,容易使公众对商品的质量等特点或者产地产生误认的标志,不得作为商标使用;即便已注册,使用时也应当遵循诚实信用原则。《食品标识监督管理办法》同样要求,食品标识不得欺骗、误导消费者,预包装食品标签应标注反映食品真实属性的名称。
此外,相关监管部门也已发声。4月23日,国务院新闻办公室举行新闻发布会,国家知识产权局介绍,近一段时间,“心机商标”引起了不少消费者的关注。针对这一问题,国家知识产权局正在采取有力措施进行专项整治。
据了解,国家知识产权局进一步完善了商标审查标准,制定了《带有欺骗性的商标审查审理指导意见》,强化审查员培训和典型案例指导,压实审查责任,严格审查在品质、功能、产地等方面弄虚作假的申请,对易造成消费者误导的商标申请坚决予以驳回,自2023年以来,已累计驳回此类商标申请达127.3万件。
值得一提的是,目前商标法修订草案已通过全国人大常委会会议的第一次审议。在这次修订中,特别针对“误导性使用注册商标”增加了法律条款。这意味着,未来再有打着商标的幌子欺骗消费者的,将面临更加严厉的处罚。
(文章来源:南方都市报)
郑重声明:以上内容与本站立场无关。本站发布此内容的目的在于传播更多信息,本站对其观点、判断保持中立,不保证该内容(包括但不限于文字、数据及图表)全部或者部分内容的准确性、真实性、完整性、有效性、及时性、原创性等。相关内容不对各位读者构成任何投资建议,据此操作,风险自担。股市有风险,投资需谨慎。如对该内容存在异议,或发现违法及不良信息,请发送邮件至yxiu_cn@foxmail.com,我们将安排核实处理。

