国泰君安与海通证券筹划合并,或将重塑证券行业竞争格局
AI导读:
9月23日晚间,国泰君安和海通证券相继发布公告,宣布正在筹划推进换股吸收合并相关事项,若合并成功,将有望成为行业总资产和净资产第一,重塑证券行业竞争格局。
9月23日晚间,国泰君安和海通证券相继发布公告,宣布两家公司正在筹划推进换股吸收合并相关事项,并宣布股票将继续停牌。国泰君安在港交所同步公告称,此次合并需事先取得监管机构的同意或批准。
根据公告,国泰君安计划通过向海通证券全体A股和H股换股股东发行相应股票的方式,换股吸收合并海通证券,并发行A股股票募集配套资金。鉴于重组事项存在重大不确定性,两家公司股票将继续停牌,以维护投资者利益,避免股价异常波动。
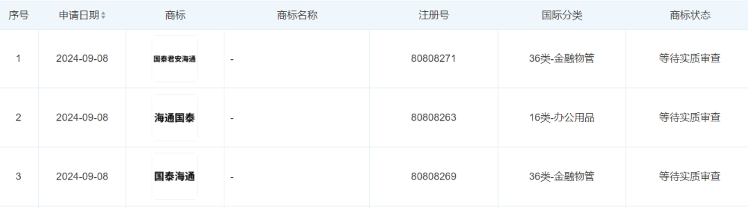
同时,国泰君安还透露,近日已申请注册“国泰海通”“海通国泰”“国泰君安海通”等商标,国际分类为金融物管、办公用品,目前处于等待实质审查阶段。这进一步表明了两家公司合并的决心和准备工作正在积极推进。
值得注意的是,若此次合并成功,新券商的总资产和净资产将达到惊人的1.6万亿元和3302亿元,均有望超越中信证券,成为行业第一。这将无疑重塑证券行业的竞争格局,并为国家打造一流投资银行、促进行业高质量发展提供有力支撑。
公开资料显示,国泰君安和海通证券均为A+H股上市公司,拥有较强的综合竞争力和庞大的客户基础。两家公司的合并,将实现资源和优势的互补,进一步提升市场影响力和竞争力。
分析人士指出,此次合并响应了国家推动头部证券公司做优做强的号召,是行业首单上市券商并购案例,具有里程碑式的意义。未来,证券行业内部并购整合大势不减,头部券商的优势将进一步凸显,行业马太效应将更加显著。
以下是国泰君安和海通证券的官方公告截图:

(图片来源:国泰君安、海通证券官方公告)
郑重声明:以上内容与本站立场无关。本站发布此内容的目的在于传播更多信息,本站对其观点、判断保持中立,不保证该内容(包括但不限于文字、数据及图表)全部或者部分内容的准确性、真实性、完整性、有效性、及时性、原创性等。相关内容不对各位读者构成任何投资建议,据此操作,风险自担。股市有风险,投资需谨慎。如对该内容存在异议,或发现违法及不良信息,请发送邮件至yxiu_cn@foxmail.com,我们将安排核实处理。

